最佳体验请使用Chrome67及以上版本、火狐、Edge、Safari浏览器 ×

创建银行
创建开票

    OPPO旗下芯片公司正式注销

    编者: 曾颖@芯闻道 阅读663 来源: https://mp.weixin.qq.com/s/dGddjlbHWwW4yljsP7Vvlw 2024/01/29 10:47:19 文章 原创 公开

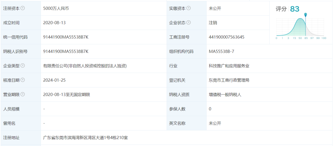
    1月25日,哲库科技(广东)有限公司经营状态由存续变更为注销,该公司由OPPO广东移动通信有限公司全资持股,注册资本5000万人民币。

    图片

    图源:天眼查

    1月8日,OPPO首席产品官刘作虎在接受采访时表示,对于芯片战略,OPPO自己不做芯片,但仍保留哲库原有的核心的架构师团队,任务是与联发科和高通等公司沟通,从底层入手,打通终端需求和SoC能力之间的通道,这次发布的自研潮汐架构,就是该架构团队的工作成果。

    刘作虎解释,因为OPPO之前做过芯片,所以能更好地把对用户的理解转换成芯片的理念,但他强调,“OPPO不做芯片”。

    根据公开资料,OPPO在2019年成立“造芯”子公司守朴科技(上海)有限公司,2020年7月改名为哲库科技(上海)有限公司(ZEKU),涵盖核心应用处理器、短距通信、5G Modem、射频、ISP和电源管理芯片等产品。但在去年5月宣布该业务终止,并解散团队。


    声明:本网站部分内容来源于网络,版权归原权利人所有,其观点不代表本网站立场;本网站视频或图片制作权归当前商户及其作者,涉及未经授权的制作均须标记“样稿”。如内容侵犯了您相关权利,请及时联系责任编辑(原厂)
    李明骏
    @芯之元 ,版权号:
    成员
    • 成交数 --
    • 成交额 --
    • 应答率
    聊天 收藏 点赞
    赏
    ¥0.00¥0.00¥0.00¥0.00¥0.00
     0  0
    
    
    分享

    微信扫一扫:分享

    微信里点“+”,扫一扫二维码

    便可将本文分享至朋友圈。

        0
      验证
      二维码支付